FEMALE THREAD HYDRAULIC BALL VALVE
- Port size
- DN6-DN65
- Pressure
- 31.5Mpa, 21Mpa
- Structure
- Floating ball
- Medium
- hydraulic oil or others
- Temperature
- -20~+80℃ or higher temperature
- Body material
- A105 or F304 F316 F316L etc.
- Connection
- Female thread
- Feature
- For high pressure hydraulic oil or others
Product Description
YJZQ series of hydraulic high-pressure ball valves are mainly used to control the flow and cut-off of oil in hydraulic pipelines. This type of hydraulic ball valve has the characteristics of small flow resistance loss, reliable sealing performance, convenient operation and beautiful appearance.
Product usage
YJZQ hydraulic high pressure ball valve is mainly used in hydraulic system pipeline or integrated system to control the flow and cut-off of working medium. Hydraulic high-pressure ball valve products have been widely used in industrial hydraulic equipment, marine hydraulic system, mining and Metallurgical Hydraulic equipment, vehicle and engineering machinery hydraulic system, agricultural machinery, petroleum industrial equipment and so on.
Technical parameters
» Name and code: hydraulic ball valve
» Applicable temperature: -20℃~+80℃ or high temperature;
» Nominal size: 6~65mm;
» Connection form: N-internal thread connection type W-external thread connection type B-plate connection type;
» Nominal pressure: 31.5Mpa or 21Mpa;
» Suitable medium: mineral oil, water, hydraulic system, ethylene glycol and emulsion.
» Product code: Ball stop valve
» Nominal pressure: J--31.5Mpa, H-21Mpa
» Nominal diameter: DN6,10,15,20,25,32,40,50,65mm
» Connection type: N--Femle thread (NG--British pipe thread), W--Male thread,B--Board type
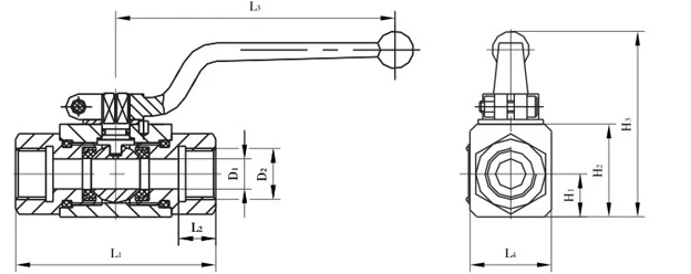
Structure diagram

Dimensions (mm)
|
Model |
D1 |
D2 |
L1 |
L2 |
L3 |
L4 |
H1 |
H2 |
H3 |
|
YJZQ-J10N |
Ф10 |
M18×1.5 |
78 |
14 |
105 |
32 |
16 |
36 |
76 |
|
YJZQ-J15N |
Ф15 |
M22×1.5 |
86 |
16 |
147 |
38 |
19 |
45 |
80 |
|
YJZQ-J20N |
Ф20 |
M27×2 |
108 |
18 |
185 |
48 |
25 |
55 |
101 |
|
YJZQ-J25N |
Ф25 |
M33×2 |
116 |
20 |
185 |
57 |
28.5 |
64 |
111 |
|
YJZQ-J32N |
Ф32 |
M42×2 |
136 |
22 |
240 |
75 |
37.5 |
84 |
134 |
|
YJZQ-J40N |
Ф40 |
M48×2 |
148 |
24 |
240 |
85 |
42.5 |
95 |
165 |
|
YJZQ-J50N |
Ф50 |
M64×2 |
180 |
26 |
240 |
104 |
52 |
112.5 |
180 |


